(有片)立法會選舉|投票去邊度?地方選區投票站一文睇(附地址)

【點新聞報道】香港第八屆立法會選舉定於12月7日(星期日)舉行,161名候選人競逐90個議席,當中10個地方選區共有51人競逐20個議席。今次立法會選舉投票將設立615個一般投票站,設於學校、地區及政府設施場地。想知道自己可以去邊度投票?(點此可查詢前往哪個投票站投票)點新聞為讀者整理了10個地方選區的票站分布,供大家一文睇清!

香港島東選區

香港島西選區

九龍東選區

九龍西選區

九龍中選區

新界東南選區

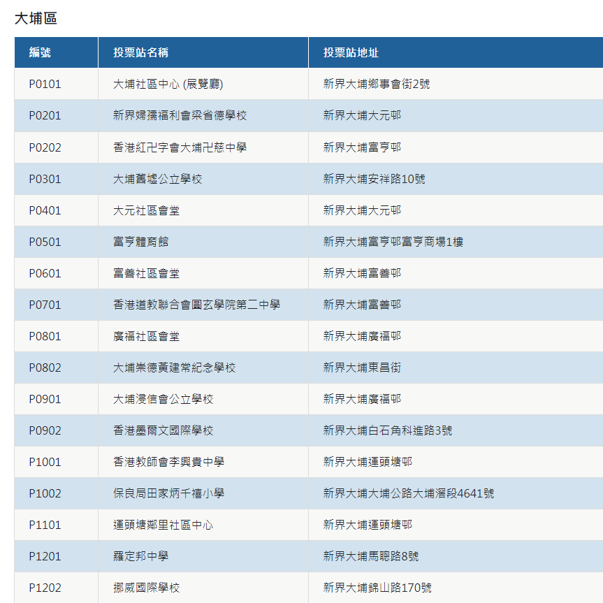
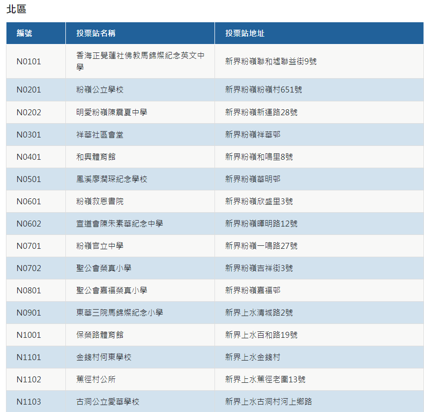
新界北選區

新界西北選區

新界西南選區

新界東北選區

(點新聞記者整理報道)

更多閱讀:

2025立法會選舉 候選人全名單及編號一圖睇

2025立法會選舉 這三張圖值得收藏

「立法會選舉地圖」上線 一站式睇清選舉資訊

立法會選舉|大數據分析選舉論壇 地方選區最關注這些議題!

收藏收藏
取消收藏取消收藏

(有片)立法會選舉|投票去邊度?地方選區投票站一文睇(附地址)

收藏收藏
取消收藏取消收藏